New technology often results in existential questions, and a recently approved patent from Microsoft raises a whole new one: Are you still hiking alone if you can have a conversation with your backpack?
Just this weekend, I hiked through nearly 10 miles of Colombian jungle without seeing another person. I often talk to myself during these excursions, but if I were using the AI-powered backpack now in development from Microsoft — it might start talking back.
According to a patent just approved by the U.S. Patent and Trademark Office, this “smart” backpack will include a camera, microphone, speaker, network interface, processor, and digital storage. First reported by MS Power User, the backpack can identify objects in the environment, respond to the wearer’s questions, and interact with other devices.
Creepy? Perhaps. But with the power to instantly price-check at the grocery store or help navigate an outdoor area, it’s easy to imagine that these will eventually pop up in a national park or ski resort near you.

Smarter Than the Average Pack?
As I read Microsoft’s explanation of the backpack’s many potential functions, I couldn’t help but think of the intensely polite human-to-computer conversations that happen in “Star Trek.”
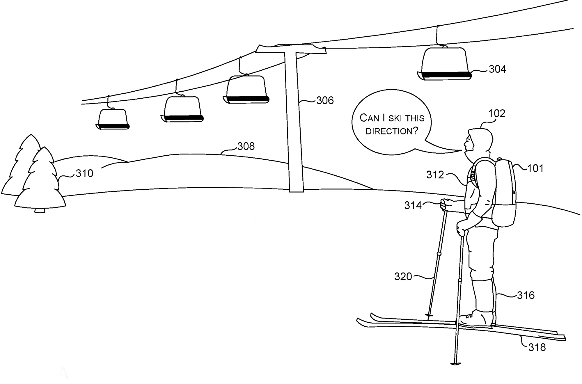
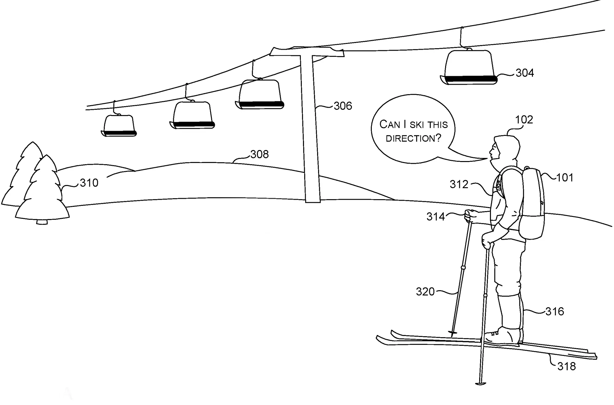
But if owners of the pack actually use it as Microsoft intends, it could become as ubiquitous — and useful — as a smartphone. To wit: the ski resort example shown in illustrations with the patent. Confused about what direction to go? Just ask the backpack. It will “scan” the surroundings and inform you if you’re going the right way.
Walking down the street and see a cool concert poster? The pack can scan the poster and create a reminder so you don’t miss the date. Shopping at the grocery store? Just ask your AI-powered pack about a product’s price tag, and the tech will check on possible sales, compare the price to other stores, and even find the item price from 1 to 2 weeks earlier.

“Digital assistants are becoming more versatile due to advancements in computing,” Microsoft wrote in the patent. “The present concepts relate to improvements in wearable digital assistants that can perform various tasks for the benefit of users.”
So, how does this smart pack work, exactly? After you give it a command, the backpack will “automatically sense” the surrounding environment through external sensors. That information is then sent to its AI engine, which interprets the data through speech recognition and language processing.
Finally, it responds with an answer. But, will that answer actually be useful? Or will the AI mangle its understanding as quickly as Alexa? We’ll have to get our hands on a finished product to find out.
In the meantime, I’ll just keep using silent GPS on my phone — and leave the robot voices for civilization.







