Another great idea that was just ahead of its time? The pickup truck midgate flopped in the 2000s but is quickly coming back. Now Ford is getting ready with its own special version of the rear cab opening, made for a factory tent and a super-cool sleep system. The idea was revealed in a new patent filing found online.
The patent is called “Pivotable Sill for a Vehicle.” No, that’s not exactly glamorous, but such is the world of filings like these. The only parts that are wordy are where they explain how each function might work.
Midgate Idea Comes Back

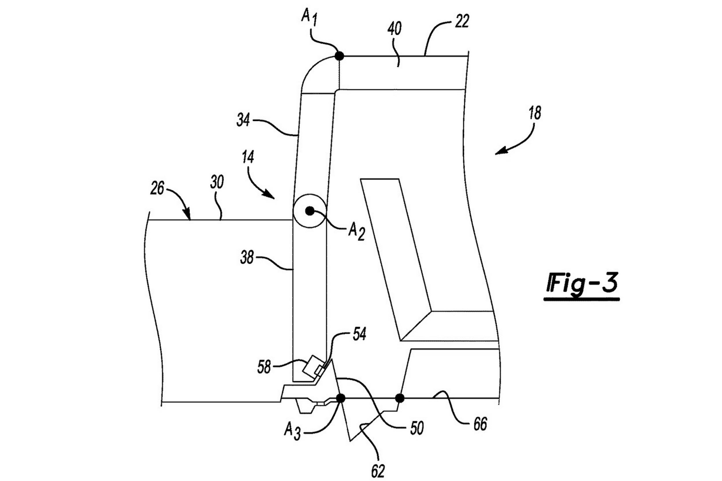
Ford’s patent was published by the United States Patent and Trademark Office (USPTO) on January 31st. It describes a pickup truck wall section that could move. The moving cab wall would give you direct access from the bed to the cab of the truck.
A moving cab door like this isn’t new. General Motors debuted the idea when it launched the Chevrolet Avalanche (and Cadillac Escalade EXT) in 2001. That truck had a removable rear cab window and a folding divider so you could have a wide open space from the tailgate to the back of the front seats. GM called it “Convert-a-Cab,” and most everyone else called it a midgate.
The Avalanche died in 2013, but the midgate idea has come back recently, first with the Chevrolet Silverado EV and then with Ram’s concept electric truck.
Ford Pickup Midgate Difference

What makes Ford’s midgate different from those, at least per the patent, is that it opens up, hinged around the top of the cab, instead of folding down.
Think of the Ford gate as a hatchback in the middle of the vehicle or as if some backyard builder took their Ford Explorer and then welded a pickup bed onto the rear.
Making it even more flexible, the tailgate panel (Ford calls it a sill assembly) is itself able to split and pivot. The metal lower panel can pivot more than 90 degrees to the upper part when the hatch is open. This would let you open the midgate all the way without having the entire hatch rise high above the back of the truck. Locks would let it stay in place at nearly any angle.
Why would you want that? To help give you more cargo storage flexibility, for a start. Imagine hauling something tall like a refrigerator but being able to deflect wind around the tall box in the back without having the hatch waving high in the air. You could also open just the lower segment, leaving the glass part of the hatch in place.
Factory Overland Camper?

Ford also shows off a pretty cool camping concept in the patent filing. One of the drawings shows a crew cab pickup with a bed in the cab. The sleeping kind, not the cargo kind.
The entire truck is then covered with a tent. The open midgate with folded lower section lets the tent clear the cab but not force you to have an overly tall tent. The rest of the box still has plenty of height for standing and walking around before exiting via the tailgate.
Even cooler, the tent can fasten to the truck’s built-in cargo tie-down points to help it stay in place, and the tent has an opening vent in the roof. Ford also posits microfiber inside, so the tent doesn’t scratch your truck.
Designed for Unibody Trucks

Ford shows the new midgate design on a unibody truck like the Maverick rather than a traditional body-on-frame pickup like the F-150 because the cab and box are two separate pieces in a body-on-frame pickup and have two distinct walls. That makes it tougher to put a door between both parts. GM fixed this by using its pickup chassis with a body more like the Suburban SUV than the pickup’s two-part design.
This isn’t an official launch of a new feature from Ford, but it clearly shows it is something the automaker is thinking about. Something we think would be pretty handy and super cool.







